Наличие и цену товара
уточняйте в день заказа
уточняйте в день заказа
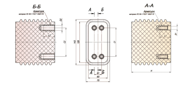
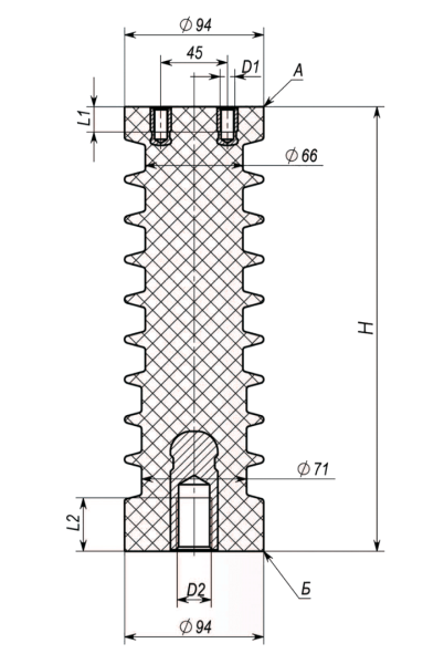
Полимерный изолятор опорный 10 кВ ИОЭЛ 10-20-035-00 УХЛ2 и У3 - современный высококачественный элемент электрической подстанции, предназначенный для защиты силовых кабелей от перегрева и механических повреждений. Представляет собой прочный изолятор, изготовленный по инновационной технологии с применением модифицированного полиэстера высокого качества. Данный полимерный материал обеспечивает отличные характеристики по отношению к электромагнитному и тепловому воздействию. Используется на напряжении 10 кВ, имеет надежную конструкцию с прочными крепежными элементами. Легко монтируется, подходит для работы при различных погодных условиях. Имеет широкий диапазон применения: от опорной линии до электрических сетей. Предлагается как в розницу, так и оптом на территории Беларуси. Предприятия-изготовители гарантируют высокое качество продукции. Доставка осуществляется по всей республике. В каталоге представлен подробный обзор технических характеристик. Покупать можно непосредственно у производителя или у авторизованных дилеров, что обеспечит минимальные затраты на доставку и максимальную выгоду для клиента. Работает в различных условиях эксплуатации, не теряет свой первоначальный технический уровень даже при длительной работе.
| Характеристики | Испытательное пятиминутное напряжение промышленной частоты, кВ: 42, Прочность на изгиб, кН: 5, Интенсивность частичных разрядов (ЧР) в изоляторе при напряжении 7,7 кВ, пКл: <2,5 |
| Номинальное рабочее напряжение, кВ | 10 |
| Наибольшее рабочее напряжение, кВ | 12 |
| Вес, кг | 2,21 |
Характеристики
По запросу
Узнать цену
Наши менеджеры обязательно свяжутся с вамии уточнят условия заказа
Наличие и цену товара
уточняйте в день заказа
уточняйте в день заказа
Полимерный изолятор опорный 27/35, 35 кВ УХЛ2 и У3 - это надежный вариант для электроустановок различной сложности. Изолятор предназначен для защиты проводов от коррозии в результате атмосферных осадков. Решение о покупке такого изолятора необходимо принимать, если требуется создание высокоточной опорной линии подачи электроэнергии на напряжение 35 кВ. Важно отметить, что данная модель сертифицирована для работы в условиях различного рода климата и способна противостоять экстремальным погодным условиям. Если вы ищете где купить Полимерный изолятор опорный 27/35, 35 кВ УХЛ2 и У3, обращаем внимание, что данный продукт доступен как в розницу, так и оптом. Вариант продажи зависит от количества заказа. Для получения актуальной информации о наличии на складе рекомендуем обратиться непосредственно к продавцу. Доставка осуществляется по всей территории страны, включая Беларусь, где также представлен официальный каталог продукции. При выборе способа доставки следует учитывать специфику местности: для труднодоступных регионов рекомендуется использование грузового транспорта или авиатранспорта. Полимерный изолятор опорный 27/35, 35 кВ УХЛ2 и У3 отличается высоким показателем прочности и надежностью. Это позволяет использовать его в различных условиях эксплуатации, включая работу при экстремальных температурах и влажности. Данный изолятор не подвержен повреждению от коррозии или механических нагрузок. При выборе подходящей модели рекомендуется обратить внимание на технические характеристики продукции: степень защиты (УХЛ2/У3), тип проводов, который предполагается использовать в системе электроснабжения. Это позволит получить максимальную эффективность и долгосрочное качество эксплуатации. Такой изолятор может стать оптимальным решением для различных проектов по созданию электроустановок, включая промышленные производства, жилищный фонд и общественные здания. Доставка осуществляется в установленные сроки, что позволяет не прерывать текущую производственную деятельность при необходимости замены или модернизации изоляции.
| Характеристики | Испытательное пятиминутное напряжение промышленной частоты, кВ: 120, Прочность на изгиб, кН: 5, Длина пути утечки от точки А до точки Б, мм: 514 |
| Номинальное рабочее напряжение, кВ | 35 |
| Наибольшее рабочее напряжение, кВ | 40,5 |
| Вес, кг | 3,52 |
Характеристики
По запросу
Узнать цену
Наши менеджеры обязательно свяжутся с вамии уточнят условия заказа
Наличие и цену товара
уточняйте в день заказа
уточняйте в день заказа
Полимерный изолятор опорный 20 кВ ИОЭЛ 20-5-127-00 УХЛ2 и У3 – это надежное техническое решение для защиты электропроводки от коррозии и повреждений. Модель ИОЭЛ 20-5-127-00 отличается высокими показателями прочности и долговечности, что позволяет использовать ее в сложных условиях эксплуатации. Полимерный изолятор опорный изготовлен на основе высококачественных материалов, обеспечивая максимальную защиту от агрессивной среды. Он легко установить на электропроводку и надежно удерживать ее положение. Влагостойкость и химическая стойкость являются его важными преимуществами. Распространенность использования: опоры ЛЭС, распределительные щиты, подстанции и прочие объекты электросетевого хозяйства. Изолятор ИОЭЛ 20-5-127-00 УХЛ2 и У3 имеет широкий диапазон применения по напряжению и температуре. Технические характеристики: - Напряжение: 20 кВ - Тип изоляции: полимерная - Модель ИОЭЛ 20-5-127-00 - УХЛ2 и У3 Мы предлагаем купить Полимерный изолятор опорный 20 кВ ИОЭЛ 20-5-127-00 УХЛ2 и У3 в нашем каталоге товаров. Доставка осуществляется по всей Беларуси. Также можно приобрести оптом, а также в розницу. Для покупки необходимо оформить заказ на сайте или связаться с менеджером компании для уточнения деталей. Обеспечиваем комплексную поддержку в процессе закупки и эксплуатации изделий. Наше предприятие является официальным дилером и может предложить Полимерный изолятор опорный 20 кВ ИОЭЛ 20-5-127-00 УХЛ2 и У3 по выгодным ценам. Окончательная стоимость определяется при оформлении заказа. Для получения более подробной информации о товаре, условиях поставки или других вопросах, обращайтесь в нашу компанию. Наши специалисты помогут подобрать оптимальное решение для ваших потребностей и организуют доставку изделий по актуальным адресам.
| Характеристики | Испытательное пятиминутное напряжение промышленной частоты, кВ: 62, Прочность на изгиб, кН: 5, Длина пути утечки от точки А до точки Б, мм: 325 |
| Номинальное рабочее напряжение, кВ | 20 |
| Наибольшее рабочее напряжение, кВ | 24 |
| Вес, кг | 2 |
Характеристики
По запросу
Узнать цену
Наши менеджеры обязательно свяжутся с вамии уточнят условия заказа
Наличие и цену товара
уточняйте в день заказа
уточняйте в день заказа
Полимерный изолятор опорный 10 кВ ИОЭЛ 10-8(5)-065 УХЛ2 и У3 - это высококачественный электротехнический продукт для защиты проводов от коррозии и механических повреждений. Изолятор изготовлен из специальных полимерных материалов, которые обеспечивают надежную защиту опорной системы в условиях любых климатических условий. Изделие подходит для работы при напряжении 10 кВ и предназначено для использования как в УХЛ2 (ускоренное химическое выгорание), так и в У3 (тепловыгораемые) категориях. Качественный полимерный состав обеспечивает длительную службу изолятора без необходимости частой замены. Полимерный изолятор ИОЭЛ 10-8(5)-065 представляет собой идеальное решение для электросетей любой сложности и является обязательным элементом при монтаже или обслуживании опорных систем. Этот продукт регулярно востребован на рынке электротехнического оборудования в Беларуси и других странах. Купить Полимерный изолятор ИОЭЛ 10-8(5)-065 УХЛ2 и У3 можно как оптом, так и в розницу у надежных поставщиков. Доставка осуществляется по всей стране, что позволяет заказчикам получить необходимый товар максимально быстро и удобно. При необходимости дополнительной информации о данном изоляторе или других аналогичных продуктах рекомендуем изучить наш каталог электротехнического оборудования.
| Характеристики | Испытательное пятиминутное напряжение промышленной частоты, кВ: 42, Интенсивность частичных разрядов (ЧР) в изоляторе при напряжении 7,7 кВ, пКл: <2,5 |
| Номинальное рабочее напряжение, кВ | 10 |
| Наибольшее рабочее напряжение, кВ | 12 |
| Вес, кг | 0,79 |
Характеристики
По запросу
Узнать цену
Наши менеджеры обязательно свяжутся с вамии уточнят условия заказа
Наличие и цену товара
уточняйте в день заказа
уточняйте в день заказа
Полимерный изолятор опорный ИОЭЛ 10-4/10-042 УХЛ2 и У3 является надежным защитным элементом, предназначенным для использования на высоковольтных электропроводках. Этот инновационный продукт успешно заменяет традиционные изоляторы на опорах, обеспечивая максимальную защиту проводки от перегрузок и воздушного разряда. Преимущества данной модели включают: - Высокую термостойкость - Отличную диэлектрическую прочность - Легкий вес, что облегчает монтаж - Длительный срок службы ИОЭЛ 10-4/10-042 УХЛ2 и У3 идеально подходит для использования в системах электроснабжения, особенно на высоковольтных линиях. Этот продукт широко используется на территории Беларуси, где его можно купить как в розницу, так и оптом. Несмотря на свою компактность, изолятор демонстрирует превосходную прочность при эксплуатации под высокими напряжениями. Особенно это важно для электроустановок УХЛ (уровень 2 и 3), где требуется повышенная защита от внешних факторов. Клиенты, которые решают купить полимерный изолятор опорный ИОЭЛ 10-4/10-042 УХЛ2 и У3, получают гарантию высокого качества и надежности продукции. Доставка осуществляется по всей территории Беларуси, что делает этот товар доступным для всех потребителей. В каталоге компании представлено полное ассортиментные ряд изоляторов различных марок и модификаций, позволяющих выбрать оптимальный вариант под конкретные задачи электроустановки.
| Номинальное рабочее напряжение, кВ | 10 |
| Вес, кг | 1,03 |
Характеристики
По запросу
Узнать цену
Наши менеджеры обязательно свяжутся с вамии уточнят условия заказа
Наличие и цену товара
уточняйте в день заказа
уточняйте в день заказа
Полимерный изолятор опорный 6кВ ИОЭЛ 6-8(5)-065 УХЛ2 и У3 – это надежное решение для электроустановок. Изолятор создан с учетом современных требований к безопасности и эксплуатационным характеристикам. Конструкция изолятора позволяет эффективно защищать опоры от электрического разряда при случайной загибке проводов. Полимерная сердцевина обеспечивает необходимую прочность и устойчивость к температурному воздействию, механическим напряжениям. Геометрические параметры ИОЭЛ 6-8(5)-065 УХЛ2 и У3 соответствуют требованиям стандартов. Изолятор отличается высокой термостойкостью, что особенно важно при эксплуатации в различных климатических условиях. Доставка изолятора осуществляется по всей территории Беларуси. Компания предлагает купить Полимерный изолятор опорный 6кВ ИОЭЛ 6-8(5)-065 УХЛ2 и У3 как в розницу, так и оптом. Изолятор доступен для каталожного поиска и находится в постоянном обновлении нашего каталога. Для получения дополнительной информации и уточнения параметров доставки обращайтесь к специалистам компании. Найдите Полимерный изолятор опорный 6кВ ИОЭЛ 6-8(5)-065 УХЛ2 и У3 в нашем магазине, где вы сможете получить полную информацию об этом продукте.
| Характеристики | Испытательное пятиминутное напряжение промышленной частоты, кВ: 32, Интенсивность частичных разрядов (ЧР) в изоляторе при напряжении 4,6 кВ, пКл: <2,0 |
| Номинальное рабочее напряжение, кВ | 6,0 |
| Наибольшее рабочее напряжение, кВ | 7,2 |
| Вес, кг | 0,6 |
Характеристики
По запросу
Узнать цену
Наши менеджеры обязательно свяжутся с вамии уточнят условия заказа
Наличие и цену товара
уточняйте в день заказа
уточняйте в день заказа
Полимерный изолятор опорный 3(1) кВ ИОЭЛ 3(1)-5-112 УХЛ2 - надежное электротехническое устройство, предназначенное для обеспечения безопасности электросети и защиты от коррозии металлических конструкций. Этот изолятор имеет высокую прочность и долговечность, что делает его идеальным выбором для различных электрических сетей. Использование полимерных материалов в конструкции позволяет достигать таких показателей как: - Высокая механическая прочность - Устойчивость к перепадам температуры - Отличная изоляционная способность - Длительный срок службы - Легкость в монтаже и эксплуатации Полимерные изоляторы опорные широко применяются в инженерной сфере, что делает их востребованными на рынке электротехнических материалов. Они являются важным компонентом для обеспечения надежности электросетей и безопасности в работе. В каталоге представлен широкий выбор изоляторов различного назначения, включая модели 3(1) кВ ИОЭЛ 3(1)-5-112 УХЛ2. Для удобства клиентов предоставляется возможность выбрать товар как оптом, так и в розницу. Доставка осуществляется по всей территории Беларуси. Вся продукция соответствует стандартам качества и имеет необходимые сертификаты соответствия.
| Характеристики | Испытательное пятиминутное напряжение промышленной частоты, кВ: 24 |
| Номинальное рабочее напряжение, кВ | 3,0 |
| Наибольшее рабочее напряжение, кВ | 3,6 |
Характеристики
По запросу
Узнать цену
Наши менеджеры обязательно свяжутся с вамии уточнят условия заказа
Таблица моментов затяжки резьбовых соединений
| Диаметр резьбы | Момент затяжки, H*м |
|---|---|
| М8 | 12 ± 10% |
| М10 | 16 ± 10% |
| М12 | 30 ± 10% |
| М16 | 70 ± 10% |
| М20 | 100 ± 10% |
| М24 | 130 ± 10% |

